AiSiri网10月10日消息,据媒体报道,宗馥莉在“十一”假期前已卸任娃哈哈集团董事长兼总经理一职,变动已获公司股东会和董事会批准。
内部人士透露,宗馥莉此番离任或与商标使用“不合规”有关。更引人注目的是,宗馥莉正计划全力打造个人品牌“娃小宗”。
宗馥莉,1982年生于浙江杭州,是娃哈哈集团创始人宗庆后之女。自2018年起,她陆续担任娃哈哈集团品牌公关部部长、销售公司副总经理,并在2021年升任集团副董事长兼总经理,可谓娃哈哈的“门面担当”。
今年8月,随着宗庆后先生的离世,宗馥莉接任娃哈哈法定代表人、董事长,同时继续兼任总经理,扛起了家族企业的大旗。然而,仅仅两个月后,形势又发生变化,不禁让人好奇,这葫芦里到底卖的什么药?
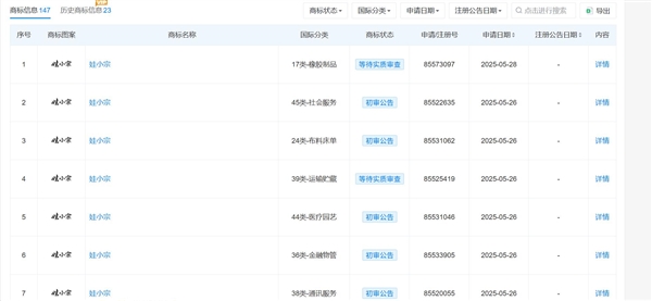
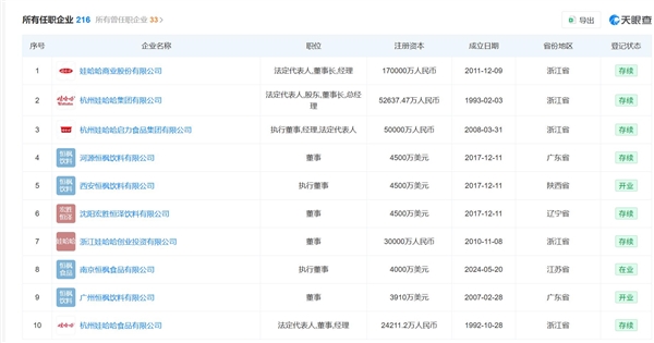
公开数据显示,宗馥莉名下关联企业超过200家,而由其掌控的宏胜饮料集团有限公司,早已申请注册包括“宗小哈”、“娃小哈”以及“娃小宗”在内的50余个商标。部分商标正处于“等待实质审查”阶段,另有一部分已获得初步审定公告。看来,宗大小姐这次是铁了心要“单飞”,打造属于自己的饮料王国了?
免责声明:本网站内容主要来自原创、合作伙伴供稿和第三方自媒体作者投稿,凡在本网站出现的信息,均仅供参考。本网站将尽力确保所提供信息的准确性及可靠性,但不保证有关资料的准确性及可靠性,读者在使用前请进一步核实,并对任何自主决定的行为负责。本网站对有关资料所引致的错误、不确或遗漏,概不负任何法律责任。任何单位或个人认为本网站中的网页或链接内容可能涉嫌侵犯其知识产权或存在不实内容时,可联系本站进行二次审核删除:fireflyrqh@163.com。


