AiSiri网10月10日消息,据媒体报道,宗馥莉在“十一”假期前已卸任娃哈哈集团董事长兼总经理一职,变动已获公司股东会和董事会批准。
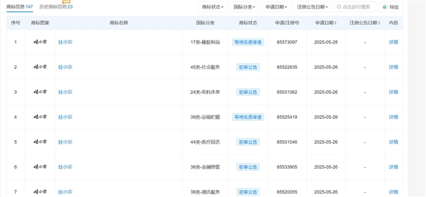
内部人士透露,宗馥莉此番离任或与商标使用“不合规”有关。更引人注目的是,宗馥莉正计划全力打造个人品牌“娃小宗”。
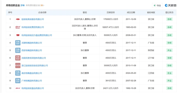
宗馥莉,1982年生于浙江杭州,是娃哈哈集团创始人宗庆后之女。自2018年起,她陆续担任娃哈哈集团品牌公关部部长、销售公司副总经理,并在2021年升任集团副董事长兼总经理,可谓娃哈哈的“门面担当”。
今年8月,随着宗庆后先生的离世,宗馥莉接任娃哈哈法定代表人、董事长,同时继续兼任总经理,扛起了家族企业的大旗。然而,仅仅两个月后,形势又发生变化,不禁让人好奇,这葫芦里到底卖的什么药?
公开数据显示,宗馥莉名下关联企业超过200家,而由其掌控的宏胜饮料集团有限公司,早已申请注册包括“宗小哈”、“娃小哈”以及“娃小宗”在内的50余个商标。部分商标正处于“等待实质审查”阶段,另有一部分已获得初步审定公告。看来,宗大小姐这次是铁了心要“单飞”,打造属于自己的饮料王国了?


